

| 油壓缸內徑 Bore sizes of cy linder(mm) | Φ40、Φ50、Φ63、Φ80、Φ100、Φ125、Φ140、Φ150、Φ160、Φ180、Φ200、Φ220、Φ250 | 
| 行程范圍 Route of travel scope(mm) | 1-3500 (行程超過3500mm請與我司業(yè)務部聯系) | 
| 工作媒介 Power fluid | 以濾清之標準液壓油 Filtered oil | 
| 缸管材質 Material of cylinder bareel | 碳鋼管 Carbon steel pipe | 
| 使用壓力范圍 The range of pressure(Mpa) | 0.3-14Mpa (3-140kg/cm2) | 
| 使用溫度范圍 The range of temperature(℃) | -10°~+150°(C) | 
| 行程公差 | ±1 | 
  | ||||
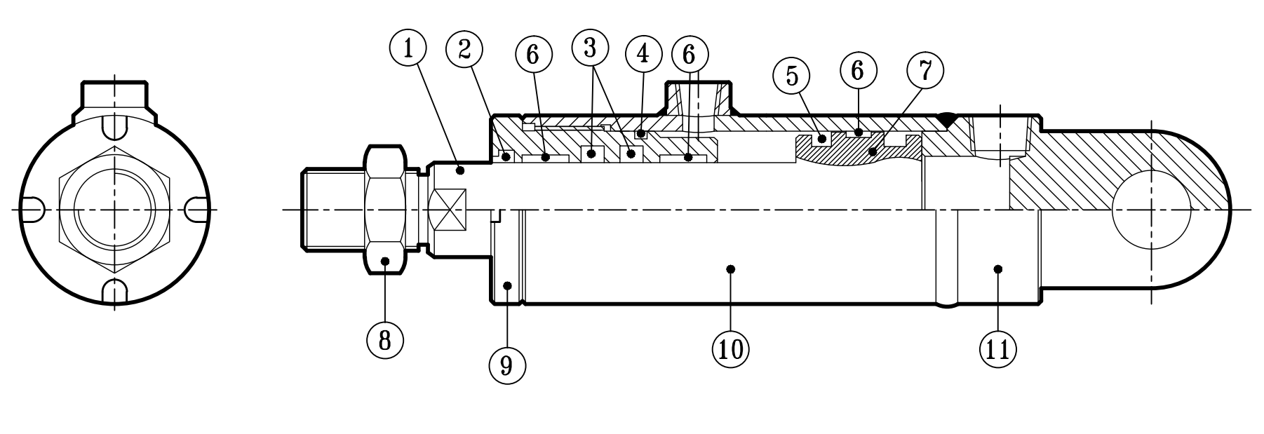
| No | 零件名 Part name | 數量 Quantity | No | 零件名 Part name | 數量 Quantity | No | 零件名 Part name | 數量 Quantity | 
| 1 | 活塞桿 Piston rod | 1 | 5 | 活塞環(huán) Piston packing | 2 | 9 | 前蓋 Rod plate | 1 | 
| 2 | 刮塵環(huán) Dust wiper | 1 | 6 | 導向環(huán) Wearing ring | 2 | 10 | 油缸本體 Cylinder tude | 1 | 
| 3 | 刮油環(huán) Rod packiog | 1 | 7 | 活塞本體 Piston | 1 | 11 | 后蓋 End cover | 1 | 
| 4 | 缸封環(huán) Gasket | 1 | 8 | 軸心螺帽 Rod nut | 1 | 1 | 
訂購:c0